The details of the new charging technology, currently under confidentiality, are said to overcome technical barriers including loss of power over distance. In terms of physics, efficiency of power transfer decreases as the distance between transmitter and receiver grows. This means batteries take longer to recharge at longer distances.
A patent filed with the U.S. Patent and Trademark Office in July 2015 describes a local environment with a near-field magnetic resonance (NFMR) power supply arranged to wireless provide power to a number of devices. The devices are positioned approxiately 1 meter from the NFMR power supply and within a region that extends no more than a few times the size of the NFMR device. Back in September 2013, the company previously filed a similar patent for next-generation wireless charging for the iMac.
Source: Patently Apple
The near-field magnetic resonance charging technology from Apple will likely utilize WiFi or Bluetooth to receive an intial communication from the wireless charging receiver, which will then connect an iPhone or iPad to the charging device.
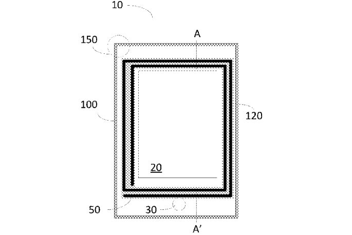
Another patent filed in December 2015 shows a method of making aluminum phone casings that allow radio waves to pass through. The aluminum housing layer includes a window aligned with the RF antenna that is filled with a non-conductive material. The material, combined with a thin aluminum oxide layer, forms an RF-transparent path through the window.

Apple transparent RF window patent (December 2015)
The company's long-distance wireless charging solution should be able to help differentiate its devices in a market described by CEO Tim Cook earlier this week as "bleak" and riddled by "extreme conditions." On Wednesday, we wrote about Apple's plateauing iPhone and iPad sales and a second quarter revenue forecast between $2.5 and $5.5 billion below analyst expectations.
"As we move into the March quarter it's becoming more apparent that there are some signs of economic softness," Apple Chief Financial Officer Luca Maestri told Reuters. "We are starting to see something that we have not seen before."


